© Академия BMW. 2009-2026
Политика конфиденциальностиПравовая информацияВсе предложения не являются публичной офертой
Не уверены в комплектации?
Проверьте соответствие детали вашему VIN в каталоге ЕТК

Артикул: 33556761002
Бренд: BMW
СКЛАД
Основной склад
нет в наличии
—
1 день
Московский склад
25 шт.
1 210 ₽
2-4 дня
Региональный склад
4 шт.
1 333 ₽
30 дней
Экспресс
1000 шт.
6 123 ₽
60 дней
Складской
1000 шт.
5 328 ₽
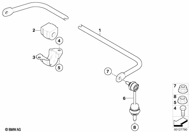
Резинометаллич.шарнир стабилизатора BMW 33556761002 — оригинальная запасная часть для автомобилей BMW серий E90, E91, E92, E90N, E91N, E60, E87, E60N, E93, E87N, E81, E82, E88, E84, E92N, E93N, M12.
Деталь 33556761002 в наличии у поставщика оригинальных запчастей из Европы. Доставка по Москве и России, гарантия совместимости с вашим автомобилем.
E90
E91
E92
E90N
E91N
E60
E87
E60N
E93
E87N
E81
E82
E88
E84
E92N
E93N
M12
Артикул
Бренд
Артикул
Бренд
20944260
Подвеска
—
821913
Втулка стабилизатора задн BMW E90/E91 1.8-3.5/1.8D-3.5D 05>
—
44260
Подвеска
—
BMSBE81R
Опора, стабилизатор
—