© Академия BMW. 2009-2026
Политика конфиденциальностиПравовая информацияВсе предложения не являются публичной офертой
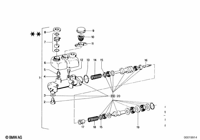
Не уверены в комплектации?
Проверьте соответствие детали вашему VIN в каталоге ЕТК

Артикул: 34321102796
Бренд: BMW
Нет предложений по наличию и цене.
Втулка сетчатая BMW 34321102796 — оригинальная запасная часть.
Артикулы замен: 34314650114. При подборе замены рекомендуем проверить совместимость по VIN-номеру вашего автомобиля.
Уточняйте наличие и сроки поставки детали 34321102796 у наших менеджеров. Доставка оригинальных запчастей BMW по Москве и России.
34314650114