Не уверены в комплектации?
Проверьте соответствие детали вашему VIN в каталоге ЕТК

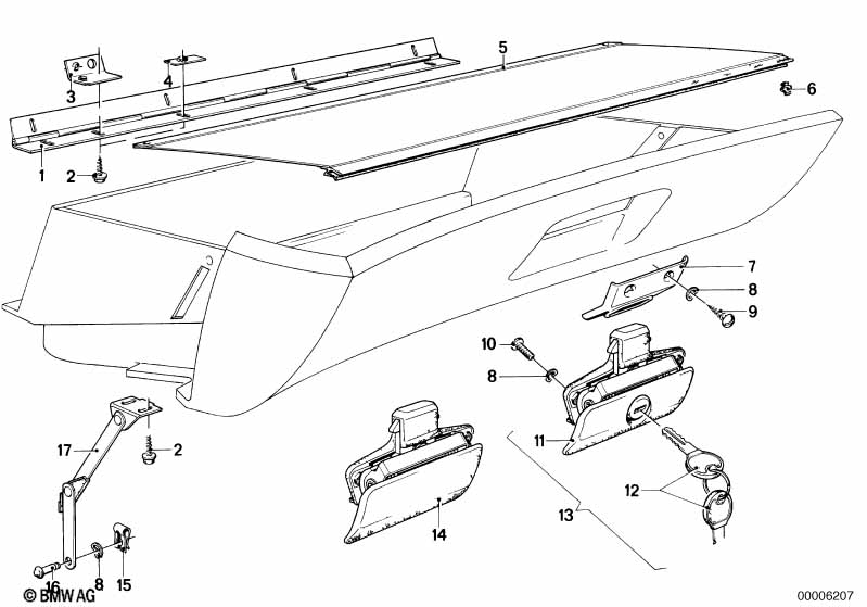
Артикул: 51161813261
Бренд: BMW
Нет предложений по наличию и цене.
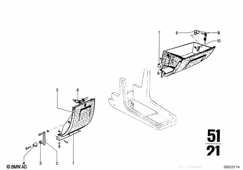
51161800464
51161887360
© Академия BMW. 2009-2026
Политика конфиденциальностиПравовая информацияВсе предложения не являются публичной офертой