© Академия BMW. 2009-2026
Политика конфиденциальностиПравовая информацияВсе предложения не являются публичной офертой

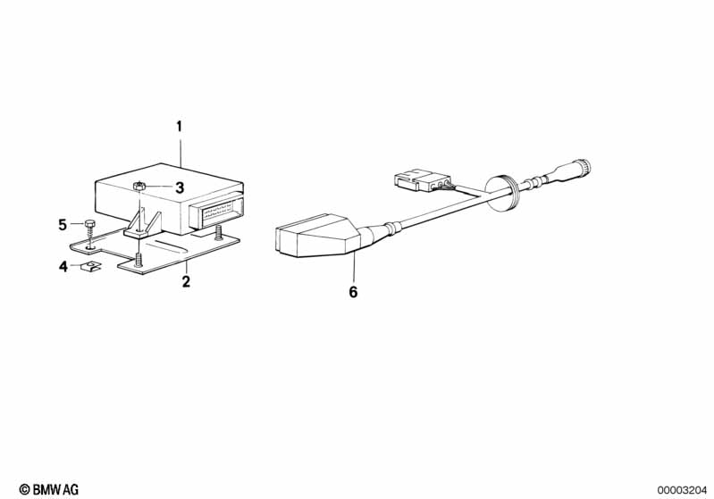
| № | Артикул | Наименование | Бренд | Цена | |
|---|---|---|---|---|---|
| 01 | ![]() | 24 61 1216519 | Lu ЭБУ блокировки переключ.на пон.пер. | — | — |
| 02 | ![]() | 24 61 1216391 | крепежная пластина | — | — |
| 03 | ![]() | 07 14 6778500 | Гайка шестигранная самоконтрящаяся | BMW | от 142 RUB |
| 04 | ![]() | 07 12 9904222 | Шайба самонарезающего болта | BMW | от 9 RUB |
| 04 | ![]() | 46 63 7651465 | Вставная гайка | BMW | от 214 RUB |
| 05 | ![]() | 07 11 9901299 | Саморез с шестигранной головкой | BMW | от 76 RUB |
| 06 | ![]() | 12 53 1724148 | Жгут пров.блокир.переключ.на пониж.пер. | — | — |