
| № | Артикул | Наименование | Бренд | Цена | |
|---|---|---|---|---|---|
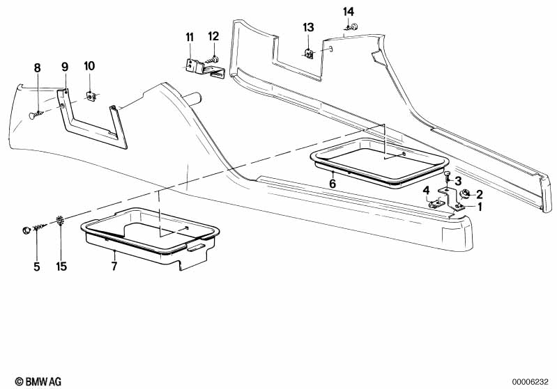
| 01 | ![]() | 51 16 1847760 | Уголок | — | — |
| 02 | ![]() | 07 14 7134319 | Гайка шестигранная с шайбой | BMW | от 79 RUB |
| 03 | ![]() | 07 11 9901299 | Саморез с шестигранной головкой | BMW | от 68 RUB |
| 04 | ![]() | 46 63 7651465 | Вставная гайка | BMW | от 236 RUB |
| 05 | ![]() | 07 14 7202502 | Винт самонарезающий со сферич.головкой | BMW | от 58 RUB |
| 07 | ![]() | 51 16 1880799 | Стопорное кольцо | BMW | от 1 703 RUB |
| 08 | ![]() | 07 11 9902412 | Винт самонарезающий с полупотайной гол. | BMW | от 203 RUB |
| 09 | ![]() | 51 16 1848458 | Накладка | — | — |
| 10 | ![]() | 07 12 9901631 | Листовая гайка | BMW | от 2 021 RUB |
| 11 | ![]() | 51 16 1854005 | Кронштейн Л | — | — |
© Академия BMW. 2009-2026
Политика конфиденциальностиПравовая информацияВсе предложения не являются публичной офертой