© Академия BMW. 2009-2026
Политика конфиденциальностиПравовая информацияВсе предложения не являются публичной офертой

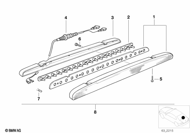
| № | Артикул | Наименование | Бренд | Цена | |
|---|---|---|---|---|---|
| 01 | ![]() | 63 25 8355032 | Рассеиватель | BMW | от 8 390 RUB |
| 02 | ![]() | 63 25 8355031 | печатная плата | BMW | от 26 083 RUB |
| 03 | ![]() | 63 25 8355030 | Защитный колпак | BMW | от 7 694 RUB |
| 04 | ![]() | 63 25 8359099 | пучок проводов | BMW | от 5 200 RUB |
| 05 | ![]() | 51 71 8156460 | Винт со сферо-цилиндрической головкой | BMW | от 228 RUB |
| 06 | ![]() | 63 12 8359261 | Винт | BMW | от 390 RUB |
| 07 | ![]() | 63 21 8362363 | Лампа накаливания | BMW | от 688 RUB |