© Академия BMW. 2009-2026
Политика конфиденциальностиПравовая информацияВсе предложения не являются публичной офертой

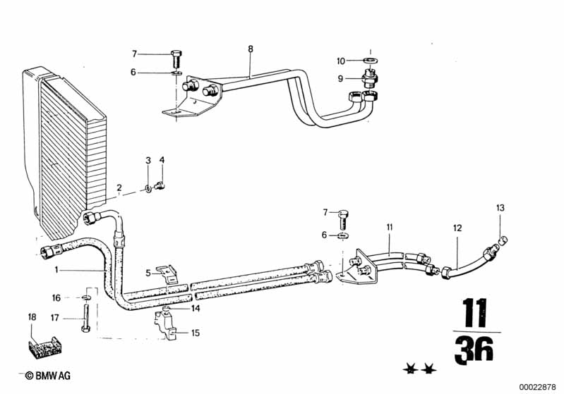
| № | Артикул | Наименование | Бренд | Цена | |
|---|---|---|---|---|---|
| 01 | ![]() | 17 22 1115747 | трубопровод масляного радиатора | BMW | от 9 588 RUB |
| 02 | ![]() | 17 22 1115763 | трубопровод масляного радиатора | BMW | от 12 217 RUB |
| 03 | ![]() | 07 11 9963042 | Уплотнительное кольцо | BMW | от 36 RUB |
| 04 | ![]() | 17 11 1101872 | Резьбовая пробка | BMW | от 287 RUB |
| 05 | ![]() | 17 22 1108417 | хомут | BMW | от 2 116 RUB |
| 06 | ![]() | 07 11 9904463 | Упругая шайба | BMW | от 31 RUB |
| 07 | ![]() | 07 11 9904033 | Болт с шестигранной головкой | BMW | от 138 RUB |
| 08 | ![]() | 17 22 1116645 | Трубопровод | BMW | от 8 157 RUB |
| 09 | ![]() | 17 22 1116672 | Резьбовой штуцер | BMW | от 2 328 RUB |
| 10 | ![]() | 07 11 9963201 | Уплотнительное кольцо | BMW | от 37 RUB |