© Академия BMW. 2009-2026
Политика конфиденциальностиПравовая информацияВсе предложения не являются публичной офертой

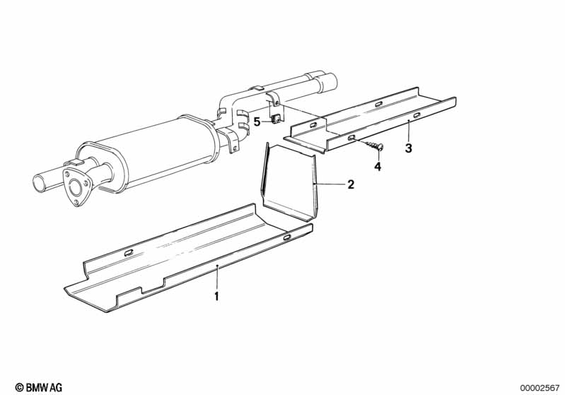
| № | Артикул | Наименование | Бренд | Цена | |
|---|---|---|---|---|---|
| 01 | ![]() | 18 21 1246783 | Ограждение места сжигания травы | — | — |
| 02 | ![]() | 18 21 1246784 | Ограждение места сжигания травы | — | — |
| 03 | ![]() | 18 21 1246785 | Ограждение места сжигания травы | — | — |
| 04 | ![]() | 07 11 9905017 | Саморез с шестигранной головкой | BMW | от 83 RUB |
| 05 | ![]() | 07 12 9901672 | Шайба самонарезающего болта | BMW | от 251 RUB |