© Академия BMW. 2009-2026
Политика конфиденциальностиПравовая информацияВсе предложения не являются публичной офертой

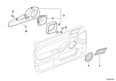
65_0114
Детали стереосистемы

65_0036
Детали стереосистемы

65_1460
Детали стереосистемы

65_4025
Детали стереосистемы на Пд двери

65_3949
Детали стереосистемы на Пд двери

65_3836
Детали стереосистемы на Пд двери

65_1695
Детали стереосистемы на Пд двери

65_1304
Детали стереосистемы на Пд двери

65_3050
Детали стереосистемы на Пд двери

65_2832
Детали стереосистемы на Пд двери

65_2453
Детали стереосистемы на Пд двери

65_1366
Детали стереосистемы на Пд двери

65_1109
Детали стереосистемы на Пд двери

65_2092
Детали стереосистемы на Пд двери

65_2020
Детали стереосистемы на Пд двери

65_0619
Детали стереосистемы на Пд двери

65_0221
Детали стереосистемы на Пд двери

65_0263
Детали стереосистемы на Пд двери

65_0465
Детали стереосистемы на Пд двери

65_0559
Детали стереосистемы на Пд двери

65_0677
Детали стереосистемы на Пд двери

65_1049
Детали стереосистемы на Пд двери

65_1052
Детали стереосистемы Зд

65_4027
Детали стереосистемы на Зд двери