© Академия BMW. 2009-2026
Политика конфиденциальностиПравовая информацияВсе предложения не являются публичной офертой

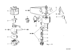
12_0961
Детали распределителя зажигания

12_0962
Детали распределителя зажигания

12_0943
Детали распределителя зажигания

12_0942
Детали распределителя зажигания

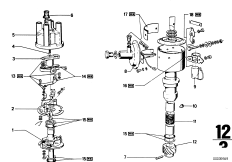
12_0958
Распределитель зажигания

12_0959
Распределитель зажигания

12_0960
Распределитель зажигания

12_0969
Свеча заж./провод выс.напр./катушка заж.

12_0924
Катушка зажигания/свеча зажигания

12_0941
Провод высокого напряж./свеча зажигания

12_0921
Провод высокого напряжения

12_0922
Провод высокого напряжения

12_0923
Провод высокого напряжения

12_0997
Детали распределителя зажигания

12_0996
Детали распределителя зажигания

12_1175
Свеча зажигания

12_2705
Катушка зажигания/свеча зажигания

12_2866
Катушка зажигания/свеча зажигания

12_3330
Катушка зажигания/свеча зажигания

12_1312
Катушка зажигания/свеча зажигания

12_1390
Выключатель индикатора давления масла

12_1405
Система зажигания

12_1533
Датчики и реле

12_1425
Система предпускового разогрева