© Академия BMW. 2009-2026
Политика конфиденциальностиПравовая информацияВсе предложения не являются публичной офертой

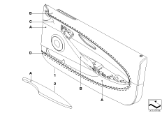
91_0518
Обшивка двери Indi, полн.кож.отделка Зд

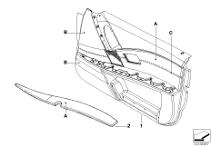
91_0675
Индивидуальная обшивка двери кожа Пд

91_0676
Индивидуальная боковая обшивка кожа

91_0677
Индивидуальная боковая обшивка кожа

91_0849
Обшивка двери Indi част.кож.отд. Пд LC

91_0850
Обшивка зад.двери Individual, кожа, LC

91_0840
Обшивка двери Indi, част.кож.отделка Пд

91_0575
Обшивка двери Indi, част.кож.отделка Пд

91_0841
Обшивка двери,полн.кож.отделка Indi. Пд

91_0635
Обшивка двери Indi, полн.кож.отделка Пд

91_0842
Обшивка двери Indi, част.кож.отделка Зд

91_0576
Обшивка двери Indi, част.кож.отделка Зд

91_0843
Обшивка двери Indi, полн.кож.отделка Зд

91_0636
Обшивка двери Indi, полн.кож.отделка Зд

91_0457
Индивидуальная обшивка двери с НПБ Пд

91_0458
Индивидуальная обшивка двери Зд

91_0688
Индивидуальная обшивка двери НПБ Зд

91_0477
Индивидуальная обшивка двери

91_0504
Индивидуальная боковая обшивка Зд

91_0479
Накладка ручки двери Individual

91_0437
Индивидуальная обшивка двери с НПБ Пд

91_0438
Индивидуальная боковая обшивка Зд

91_0003
Индивидуальная обшивка двери Пд

91_0007
Индивид.обшивка двери Alcantara Зд