© Академия BMW. 2009-2026
Политика конфиденциальностиПравовая информацияВсе предложения не являются публичной офертой

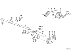
41_0451
Привод капота

41_0452
Привод капота

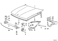
41_0453
Капот/дополнительные элементы

41_0454
капот

41_0455
капот

41_0456
капот

41_0457
капот

41_0458
капот

41_0459
капот

41_0460
Привод капота

41_0461
Привод капота

41_0462
капот

41_0463
капот

41_0464
Привод капота

41_0465
Привод капота

41_0466
Привод капота

41_0467
капот

41_0468
Привод капота

41_0469
Привод капота

41_3685
Каркас кузова

41_3720
Каркас кузова

41_3959
Каркас кузова

41_4116
Каркас кузова

41_2955
Каркас кузова