© Академия BMW. 2009-2026
Политика конфиденциальностиПравовая информацияВсе предложения не являются публичной офертой

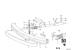
51_3504
Передний бампер с элементами крепления

51_0668
Облицовка бампера Пд M Technic

51_0640
Облицовка бампера Пд M Technic

51_2090
Облицовка бампера Пд M Technic

51_0639
Облицовка бампера Пд M Technic

51_0573
Облицовка бампера Пд M Technic

51_0572
Облицовка бампера Пд M Technic

51_0574
Облицовка бампера Пд M Technic

51_0571
Облицовка бампера Пд M Technic

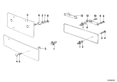
51_0523
Основание номерного знака

51_0834
Основание номерного знака

51_0835
Основание номерного знака

51_0520
Основание номерного знака

51_0811
Основание номерного знака

51_1992
Основание номерного знака

51_0528
Основание номерного знака

51_0827
Основание номерного знака

51_0838
Основание номерного знака

51_0522
Основание номерного знака

51_2001
Основание номерного знака

51_0837
Основание номерного знака

51_0836
Основание номерного знака

51_0521
Основание номерного знака

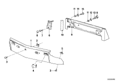
51_0591
Облицовка бампера Пд