© Академия BMW. 2009-2026
Политика конфиденциальностиПравовая информацияВсе предложения не являются публичной офертой

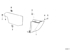
51_1008
Облицовка панели приборов Нж

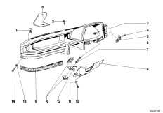
51_0980
Облицовка панели приборов Нж

51_1009
Облицовка панели приборов Нж

51_1010
Облицовка панели приборов Нж

51_0999
Облицовка панели приборов Нж

51_1000
Облицовка панели приборов Нж

51_0984
Нижняя левая облицовка панели приб.

51_1001
Нижняя правая облицовка панели приб.

51_0977
Нижняя правая облицовка панели приб.

51_1002
Облицовка панели приборов, доп.элементы

51_0987
Облицовка панели приборов, доп.элементы

51_1013
Облицовка панели приборов с НПБ Нж

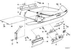
51_1055
вещевой ящик

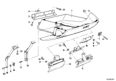
51_1038
вещевой ящик

51_1056
вещевой ящик

51_1033
вещевой ящик

51_1053
вещевой ящик

51_1041
вещевой ящик

51_1021
вещевой ящик

51_1049
вещевой ящик

51_1022
вещевой ящик

51_1054
вещевой ящик

51_1018
вещевой ящик

51_1039
вещевой ящик