© Академия BMW. 2009-2026
Политика конфиденциальностиПравовая информацияВсе предложения не являются публичной офертой

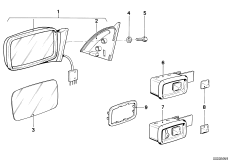
51_0428
Электрические наружные зеркала

51_0427
Электрические наружные зеркала

51_0436
Электрические наружные зеркала

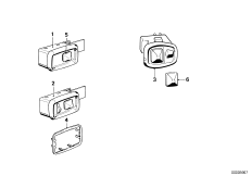
51_B083
Доп.элементы наружного зеркала в M-стиле

51_5549
Доп.элементы наружного зеркала в M-стиле

51_0443
Выключатель нар.зеркала з.вида с э/прив.

51_0448
Выключатель нар.зеркала з.вида с э/прив.

51_0442
Выключатель нар.зеркала з.вида с э/прив.

51_0457
Выключатель нар.зеркала з.вида с э/прив.

51_0459
Выключатель нар.зеркала з.вида с э/прив.

51_0460
Выключатель нар.зеркала з.вида с э/прив.

51_0458
Выключатель нар.зеркала з.вида с э/прив.

51_D829
наружное зеркало заднего вида

51_D764
наружное зеркало заднего вида

51_C911
наружное зеркало заднего вида

51_Z909
стекло зеркала

51_B194
стекло зеркала

51_B008
стекло зеркала

51_B557
стекло зеркала

51_A336
стекло зеркала

51_A219
стекло зеркала

51_A141
стекло зеркала

51_A010
стекло зеркала

51_6531
стекло зеркала