© Академия BMW. 2009-2026
Политика конфиденциальностиПравовая информацияВсе предложения не являются публичной офертой

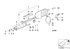
18_0235
Задний дополнительный глушитель

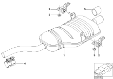
18_0191
Задний дополнительный глушитель

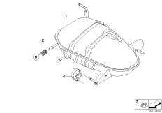
18_0169
Задний дополнительный глушитель

18_0152
Задний дополнительный глушитель

18_0586
Задний дополнительный глушитель

18_0192
Задний дополнительный глушитель

18_0202
Задний дополнительный глушитель

18_0550
Задний дополнительный глушитель

18_0880
Задний дополнительный глушитель

18_0453
Задний дополнительный глушитель

18_0326
Задний дополнительный глушитель

18_0627
Задний дополнительный глушитель

18_0478
Задний дополнительный глушитель

18_0025
Катализатор/доп.глушитель за основным

18_0915
Система глушителя M Performance

18_0948
Система глушителя JCW

18_0583
Спортивный задний глушитель

18_0629
Спортивный задний глушитель

18_0685
Спортивный задний глушитель

18_0656
Спортивный задний глушитель

18_0504
Спортивный задний глушитель

18_0327
Дополнительный глушитель Зд с заслонкой

18_0236
Дополнительный глушитель Зд с заслонкой

18_0297
Дополнительный глушитель Зд с заслонкой