© Академия BMW. 2009-2026
Политика конфиденциальностиПравовая информацияВсе предложения не являются публичной офертой

34_2186
Рычаг стояночного тормоза

34_1973
Рычаг стояночного тормоза

34_2327
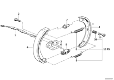
Стояночный тормоз/тормозные колодки

34_2286
Стояночный тормоз/тормозные колодки

34_3150
Ремкомплект для торм.колодок Value Parts

34_3135
Ремкомплект для торм.колодок Value Parts

34_3138
Ремкомплект для торм.колодок Value Parts

34_3131
Ремкомплект для торм.колодок Value Parts

34_3129
Ремкомплект для торм.колодок Value Parts

34_2375
Ремкомплект для торм.колодок Value Parts

34_2231
Ремкомплект для торм.колодок Value Parts

34_2609
Сервисный к-т торм.колодок / Value Line

34_3115
Сервисный к-т торм.колодок / Value Line

34_3482
Ремкомплект для торм.колодок Value Parts

34_1964
Ремкомплект для торм.колодок Value Parts

34_0327
Стояночный тормоз/тормозные колодки

34_0338
Стояночный тормоз/тормозные колодки

34_0339
Стояночный тормоз/тормозные колодки

34_0362
Стояночный тормоз/тормозные колодки

34_0526
Стояночный тормоз/тормозные колодки

34_0573
Стояночный тормоз/тормозные колодки

34_0709
Стояночный тормоз/тормозные колодки

34_0710
Стояночный тормоз/тормозные колодки

34_0733
Стояночный тормоз/тормозные колодки